Code前端首页关于Code前端联系我们

宝塔服务器安全防范:关闭端口和WINDOWS/LINUX漏洞补丁解决方案

terry 2年前 (2023-09-28) 阅读数 77 #未命名

安装宝塔,安装代码或安装安全插件,并执行上面教程中介绍的安全操作。够了吗?现在服务器已经安全了,您再也不用担心出现问题了吗?是不是——想一想,朋友们!

答案当然是,是,不是!

1。关闭不必要的服务器安全组端口

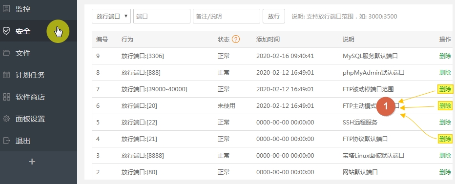
从两个方面入手,一是通过宝塔面板->安全查找异常端口,如:FTP端口20、21等;
如图(5-1-3):
宝塔服务器安全防范:关闭端口及WINDOWS/LINUX漏洞修补方案

如果您不使用FTP,可以完全关闭相关端口。只需删除上图(5-1-3)中步骤1所示端口的功能即可;

第二种是登录服务器安全组,比如阿里云ECS安全组,同时删除相关端口。

操作请参考:

1-5 服务器组安全(访问控制列表)

2。从基础开始,及时打系统补丁

无论是Windows还是Linux,所有操作系统都存在漏洞,及时打补丁,防止漏洞被攻击和利用,是最大限度保护服务器的方式之一。安全,所以我们必须定期给服务器系统打补丁:

方法一:

是通过服务提供商提供的补丁修补硬件、第三方安全软件如安全狗等。 。

方法二:

当系统检测到漏洞时,如果是Linux的话,可以通过SSH连接到服务器,然后运行相关的补丁安装文件来安装他。 Windows可以直接通过系统更新来更新和安装补丁。

Linux下的漏洞修补方案:

我们可以在Linux下运行update命令来修补系统漏洞:(更新方法)

#CentOs写法

yum update

写法

sudo apt -get update

以CentOS为例,如下图(5-2-1):

宝塔服务器安全防范:关闭端口及WINDOWS/LINUX漏洞修补方案

CentOS update命令直接运行在Linux系统上面,系统.会自动从云端下载系统应用程序的更新版本,以下载并安装更新。运行过程可能需要用户仔细检查,如下图(5-2-2):

宝塔服务器安全防范:关闭端口及WINDOWS/LINUX漏洞修补方案

我们发现总下载量为115M,如下可以吗?[y/ d] /N]? 选择y(表示确定),然后全部更新即可。功能与Ubuntu类似,这里不再介绍。

Windows下漏洞修补方案:

通过宝塔远程访问工具或其他通讯工具登录Windows界面,进入开始菜单->控制面板->系统和安全,找到下图。 ( 5-2-3 ) 如果Windows Update 没有运行,请先启用它,然后单击 进入Windows Update 窗口。

宝塔服务器安全防范:关闭端口及WINDOWS/LINUX漏洞修补方案

登录时(如图5-2-4),直接点击即可查看更新。如果有新补丁,直接安装即可完成更新。需要注意的是,安装补丁后需要重新启动系统,可能会延迟12晚。单击并重复!
宝塔服务器安全防范:关闭端口及WINDOWS/LINUX漏洞修补方案

3。通过SSH连接系统获取安全软件文件

操作系统内部的日志文件是检测网络入侵的重要记录。如果您的系统直接连接到互联网,并且您看到很多人尝试 Telnet/FTP 进入您的系统,您可以运行:

more /var/log/secure | Denied grep

宝塔服务器安全防范:关闭端口及WINDOWS/LINUX漏洞修补方案
如上图(5-2-5):

Feb 23 09:07:40 ecs-s6-xlarge-2-linux-20200208140355 sshd[16604]: refused connect from 197.202.66.131 (197.202.66.131)

使用以上命令检查系统攻击情况,采取IP限制等措施,如使用SSH替代Telnet/rlogin等。

版权声明

本文仅代表作者观点,不代表Code前端网立场。
本文系作者Code前端网发表,如需转载,请注明页面地址。

热门